座椅滑軌自動組裝線是蘇州安嘉根據客戶要求研發定制的一條的全自動座椅滑軌裝配組裝自動線,自動組裝線由內外軌及鎖片合裝-涂油-滑球及芯棒安裝-沖裁-扭簧安裝-滑動力檢測-補漆-打碼-包裝等,具有效率高、兼容性強、有智能質檢監控功能,整線全自動節省人工等特點。
一、客戶背景及痛點
鄭州TX汽車飾件有限公司,是河南省一家規模型企業,該公司是中部地區生產汽車座椅總成,骨架,調角器,滑軌的專業廠家,客戶主要配套鄭州日產,東風日產,奇瑞汽車等,目前該公司滑軌組裝均為手工組裝,該公司一款新式滑軌每月6000臺套,原先工藝無法滿足,有如下問題:
1.人員成本很高:一個班組六人加工;
2.產能過低:每天生產100臺套;
3.兼容性差:種類繁雜,多種產品不能同時裝配;
4.裝配品質差:經常出現裝錯裝反,
5.勞動強度大:全為人工操作裝配,抱怨多。
以上五個問題,客戶很頭痛,一直要找解決辦法。
二、客戶對設備要求高
根據產品特點和過往經驗,和我們的銷售工程師討論后對新定制設備提出了如下要求:
1、自動化程度高,操作人員數量降低。
2、提升產能,至少提高30%。
3、整線兼容多種產品;
4. 整線設備能防錯防呆,自動識別匹配。
5、降低人工勞動強度,只負責簡單工序和上料等。
根據客戶要求,按常規的裝配線和設計思路根本無法實現,怎么辦?
三、根據客戶需求,研發定制座椅滑軌自動組裝生產線
根據客戶所提各項要求,公司研發部、焊接工藝部、銷售部共同召開了新項目研發會議,一起探討工藝、夾具、結構、定位方式、裝配方式、上下料方式、配置,列出關鍵風險點、并逐個做出了解決方案,確定了基本方向和技術細節如下:
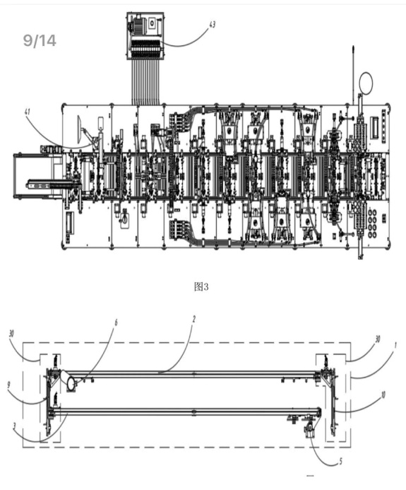
1、根據以上要求,我們基本確定了方案,整線自動流水作業,并做出了如下工序排序:內外軌及鎖片合裝-涂油-滑球及芯棒安裝-沖裁-扭簧安裝-滑動力檢測-補漆-打碼-包裝等,如下圖;
2.設備選型及定制:根據客戶所提供的工件圖紙和技術要求,我們工藝師和研發工程師一起探討并針對各個產品部件及技術要求設計,在TX原來的基礎上優化選出不同的機型,同時根據每個產品設計定制不同的動作機構和定位夾具,確保本座椅滑軌自動組裝線能高效率、高品質的運行;
3. 座椅滑軌自動組裝線優勢:
1)節省人工成本,效率高:實現六道工序(裝鋼球、加油、打限位檔點、推松測力、打永久標識,復內外滑鎖止位置)的全自動,整線只需2人操作,減少了4個人工;
2)提高生產效率:通過整線模塊化的設計,每天能實現200臺套的組裝,效率提升100%;
3)兼容性強:通過共線標準化設計,能兼容36種滑軌的組裝;
4)智能檢測,保證品質:通過設計實現不同軌型的識別,智能化的傳感器檢測,實現組裝過程的防錯、防呆,保證了產品品質;
5)解決人員抱怨問題:人員只在補漆和扭簧的工序介入,降低員工的操作要求,大大減少了勞動強度;

安嘉把上述技術方案、細節和TX充分討論,雙方達成一致后簽訂了《技術協議》,作為設備研發設計、制造、驗收的標準,因為我們的專業的技術、細致的服務感動了客戶,并于2018年10月20日與TX公司達成了訂單協議。
四、快速設計、按時交貨、專業的售后,得到客戶的好評!
在確定設備技術協議、簽訂合同后,60天的交期的確很緊,安嘉的項目經理第一時間開生產項目啟動會,確定了機械設計、電氣設計、機械加工、外購件、裝配、聯調時間節點和客戶來廠預驗收、整改、總檢和交貨時間,并通過ERP系統有序的排發各部門工單、督促跟進各部門的工作進程。
一晃60天過去,TX定制型座椅滑軌自動組裝線總算完工了,我們的專業的售后服務在客戶現場經過15天的安裝調試和技術、操作、維護培訓,設備已正常投入生產并全部達到了客戶的驗收標準。
TX公司對座椅滑軌自動組裝線實際生產和焊接效果很滿意,幫他們提升了自動化水平、提高生產效率、解決了成品率的問題、節省了人工,得到了他們的好評!
五、滿足您的定制要求就是安嘉的成長使命!
客戶是我們的導師,您需要組裝還是焊接?什么材質的產品?您需要什么工藝?什么生產要求?需要全自動的、半自動的、還是流水線?請盡管提出來,安嘉都可以為您“研發定制”。